镜头选型工具
2.0.23 官方版- 软件大小:55 MB
- 更新日期:2019-06-11
- 软件语言:简体中文
- 软件类别:媒体其它
- 软件授权:免费软件
- 软件官网:未知
- 适用平台:WinXP, Win7, Win8, Win10, WinAll
- 软件厂商:
软件介绍人气软件相关文章网友评论下载地址
镜头选型工具提供多种相机,在软件界面就可以找到对应型号,从而根据当前的型号配置安装摄像头规划图,如果您需要调整最佳的监控角度,可以在软件找到符合条件的摄像头,随后在软件调整监控参数,软件立即显示对应的安装视图以及规划图,从而帮助摄像头安装人员快速配置最佳的安装位置以及调整监控角度,非常适合需要安装摄像头的朋友使用,这款软件界面功能还是比较简单的,启动软件以后建立一个方案就可以开始选择摄像头!

软件功能
1、镜头选型工具可以帮助用户模拟分析多种镜头安装方式
2、软件提供多种摄像头,可以找到您购买的摄像头型号,从而在软件模拟安装
3、通过软件预先设计安装方式,可以在显示安装的时候一次达到最佳安装方案
4、为用户提前分析最佳的安装角度以及最佳的监控角度
5、相机名字以及型号直接在软件显示,打开选型界面就可以显示相机介绍
6、基本参数分辨率:2MP、传感器尺寸:1/2.7、焦距(mm):2.8、安装高度(m):4.0、安装角度:42.3
7、可以在软件查看视角参数:水平视场角():115.00、垂直视场角():62.00
8、可视域参数:物距(m):10.0、物高(m):2.0、物宽(m):33.8
9、也支持区域自定义像素密度:确认(pix/m)500、识别(pix/m)250
软件特色
1:镜头选型工具可以快速选择相机型号和参数设置
2:软件界面显示安装视图、地图和规划视图,可以自己切换浏览模式
3:可以查看已添加相机列表,可以显示相机相关的参数
4:快速查看效果图(像素图和比例图),了解配置结果
5:软件功能简单,设计完毕方案就可以选择保存,也可以将修改的方案另外保存
6:查看软件版本、开源软件许可证、用户手册、检查更新
7:也可以对公制和英制切换,方便用户调整单位
使用方法
1、打开Lens Selection.exe软件直接启动,随后可以直接进入镜头选择界面,也可以在这里找到软件的说明书

2、软件的主界面如图所示,现在就可以在软件界面输入需要拍摄的参数,从而在软件查看镜头

3、这里是相机型号选择界面,可以在这里查看官方提供的摄像头参数,鼠标双击就可以选择下方的镜头

4、选择的镜头就在软件界面显示,可以在这里输入基本参数。可以在软件界面查看安装视图

5、如果你看得懂这里的视图就能知道如何自己部署监控设备,对于需要精准安装摄像头角度的朋友很适合

6、这里是规划图设置功能,可以选择符合条件的相机,可以在软件查看3D场景

7、相关的参数自己在软件界面输入,调整完毕以后可以查看对应的安装视图,这样就可以为您选择相机以及配置安装方案

使用说明
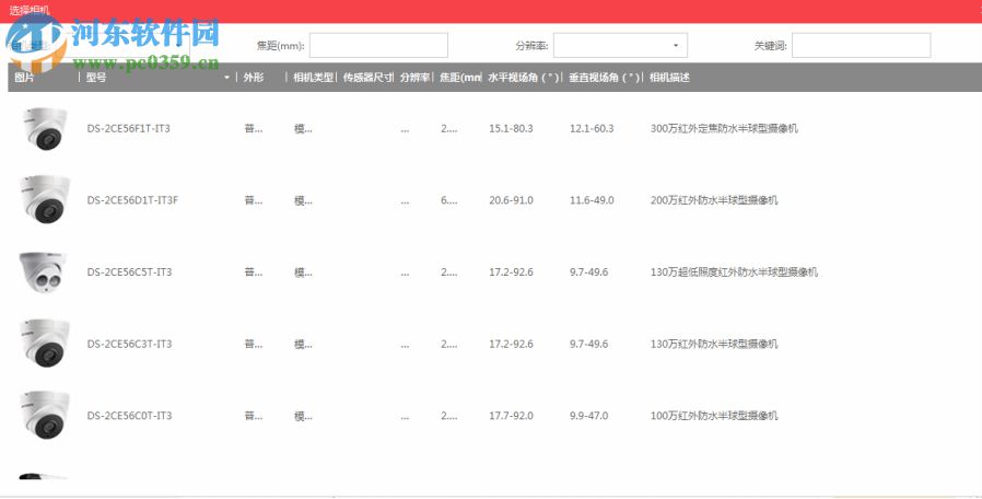
选择相机型号
软件支持查看不同相机的镜头参数,选择所需要的相机型号。
操作步骤
1. 单击左侧区域相机型号链接,进入相机类型选择界面。

2. 选择相机类型,默认包括所有类型相机。
3. 设置相机搜索参数。通过设置焦距、分辨率和关键词,列表中自动筛选出符合条件的相机。
说明
一般情况下,若用户已知相机具体型号,可以直接在关键字中输入型号筛选;若未知相机型号,可以通过选择相机类型和设置过滤参数进行筛选。
4. 在搜索结果列表中,双击选中的相机类型。
说明
如果您未找到您所需的型号,您可添加自定义相机满足需求。具体步骤信息详见 添加自定义相机 。
该相机镜头相关默认参数自动显示到工具界面左侧区域,用户可以通过该区域或安装视图进行调整。
添加自定义相机
若您未能在本软件找到您所需的相机型号,您可添加自定义相机满足需求。
操作步骤
说明 目前支持添加的相机类型为模拟相机和网络相机。
1. 单击左侧区域相机型号链接,进入相机类型选择界面。
2. 单击 添加自定义相机 进入选择相机界面。
3. 设置相应的必填项,如相机型号、相机类型、分辨率等。
4.可选操作: 填写相机描述。
5. 单击 确定 完成添加
设置像素密度等级
在安装视图、地图、规划图中,相机周围不同颜色代表不同的像素密度等级(识别程度)。支 持调整各像素密度等级的像素范围。
前提条件
完成相机型号选择。
操作步骤 1. 运行镜头选型工具软件,进入主界面左下角自定义像素密度区域。

系统默认参数如下:
确定
默认为绿色,默认像素密度范围为 500pix/m 以上,表示该范围内物体能够被确认(能 识别人脸)。
识别
默认为橙色,默认像素密度范围为 250pix/m~500pix/m,表示该范围的物体可以被识别 (能识别人脸)。
侦测
默认为蓝色,默认像素密度范围为 30pix/m~250pix/m,表示该范围内的物体可以被侦测 到(能辨别人的衣着颜色和行为)。
调整安装参数
选择好相机型号后,可以对相机进行参数设置,包括基本参数、视角参数以及可视域参数调 整。
操作步骤
1.在主界面右上角,选择公制或英制。
2. 选择好一个具体的相机型号。参考 选择相机型号 。
3. 在界面左侧区域,调节相机的基本参数、视角参数和可视域参数。
说明 不同的相机类型参数有所不同。
4. 在安装视图中查看相机水平和垂直监控范围,并调整安装角度、物高和物距。

说明
• 拖动图中红色方框位置可以调整安装角度、物高和物距。
• 安装视图中,相机周围的不同颜色代表不同的识别程度。可以手动设置不同识别程度的
像素密度范围,也可保持系统默认值不变,具体请参考 设置像素密度等级 。
5.单击 像素图 ,查看人脸和车牌像素密度和显示效果。支持同时调节参数和效果对比查看。

说明
图中,左侧像素密度值是近景像素密度值,右侧像素密度值是远景的像素密度值。像素图 是远景处的像素密度图。
6. 单击比例图 ,查看近景和远景对比显示效果。支持同时调节参数和效果对比查看。下图中 物高为物体实际高度。

7. 单击界面左侧下方的 添加到列表 ,完成相机的添加。
通过地图规划
将相机从相机列表拖动到地图,通过调整相机位置、水平方位角和相关参数,配置出所需要 的监控范围。
普通相机和鱼眼相机可视范围不同,如下图所示。普通相机可以调整水平方位角。 • 平面图中,相机周围不同的颜色代表不同的识别程度。可设置各识别程度的像素密度,

通过模拟场景规划
您可在模拟场景中通过调整相机位置、水平方位角和相关参数,配置出所需要的监控范围
在相机列表中选中目标相机,并将相机拖到至目标位置。
添加参照物。
添加参照物后,您可拖动参照物调整其位置。

可选操作: 调整相机的镜头方向或参照物的方向。
将 3D 场景切换至主界面,平面图切换至浮窗。

点击主界面右上角的D V R 视 图 可同时查看多个相机的 3D 场景。

DVR 视图中只显示已经添加到平面图中的相机。
• 系统支持 2×2,3×3,4×4 窗口并支持翻页查看。
• 单击 DVR 视图右上角 可退出 DVR 视图。
下载地址
-
镜头选型工具 2.0.23 官方版
人气软件

Adobe Media Encoder CC 20191.16 GB
/简体中文
学校铃声音乐(校园铃声mp3)33.53 MB
/简体中文
佳能单反相机快门次数查询工具(EOSMsg)10.9 MB
/简体中文13.8 MB
/简体中文
班迪录屏注册机下载(附使用方法)18.9 MB
/英文114 MB
/简体中文
smoothvideo project 汉化中文版9.13 MB
/简体中文
LAV Filters(DirectShow解码器)12.29 MB
/英文5.27 MB
/简体中文
Duplicate Video Remover(重复视频文件查找工具)22.7 MB
/简体中文
网友评论共0条

泡泡字幕机for premiere(附使用教程) 3.2.0 免费版
JRiver Media Center(多功能媒体管理软件) 25.0.93 中文破解版
















精彩评论